IP노믹스

특허로 보는 새로운 경제 미디어 'IP노믹스'

  • 일본 "빅데이터도 지식재산권"..연내 개정안 처리 방침

    일본 정부가 빅데이터를 지식재산권으로 보호할 전망이다. 자동차 주행기록이나 휴대전화 위치정보 등을 권리로 인정하는 개정안을 마련해 연내 의회 의결을 마치는 것이 목표다. 니혼게이자이신문은 12일 일본 정부...

    2017-03-13 12:00
  • 기사 썸네일
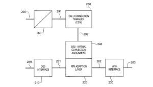
    애플, 3D 얼굴인식 특허 등록...아이폰8에 적용하나

    애플이 3차원 지도를 이용해 사용자 얼굴을 인식하는 특허를 등록했다. 전문가들은 이 기술을 올해 출시할 아이폰8의 생체인식 시스템 중 하나로 보고 있다. 애플인사이더 등 외신에 따르면 애플이 지난 7일(현지시...

    2017-03-10 18:00
  • 기사 썸네일
    "인도특허청, SW 특허기준 명확히 해야"

    인도 정부가 특허환경 변화에 맞춰 소프트웨어 특허성을 명확히 하는 등 변화가 필요하다는 주장이 나왔다. 영국 특허매체 아이에이엠(IAM)은 지난달 인도에서 열린 세계적인 특허 행사인 IPBC(Intellectual Propert...

    2017-03-09 20:00
  • 기사 썸네일
    성남 `특허은행` 출범..기초지자체 최초

    성남시가 전국 기초지방자치단체로는 처음으로 `특허은행`을 설립한다. 성남산업진흥재단은 14일 맞춤형 지식재산 관리에 특화한 성남특허은행을 개소한다고 9일 밝혔다. 지식재산 위험 분석과 비용절감, 금융전략...

    2017-03-09 19:00
  • 기사 썸네일
    "지재부·지재비서관 신설해 4차 산업혁명 대비를"

    “지식재산부와 지식재산비서관을 신설해야 합니다.” 여러 부처에 분산된 지식재산 정책을 국가 차원에서 총괄할 콘트롤 타워를 설립해 4차 산업혁명에 대비하자는 주장이다. 대한민국 세계특허(IP)허브국가추진위...

    2017-03-09 17:30
  • 기사 썸네일
    윤태용 한국저작권보호원 초대 원장 취임

    한국저작권보호원 초대 원장으로 윤태용 전 문화체육관광부 문화콘텐츠정책실장이 취임했다. 임기는 8일부터 오는 2020년 3월 7일까지 3년간이다. 윤태용 신임 원장은 서울대 경제학과를 졸업하고 행시 28회로 공직...

    2017-03-08 18:00
  • 기사 썸네일
    <칼럼>김승열 변호사 "인수대상기업 IP 꼼꼼히 따져야"

    기업 자산에서 지식재산권이 차지하는 비중이 높아짐에 따라 기업 인수합병 시 지식재산권을 어떻게 취급하고 처리할 것인지가 주요 절차로 자리매김하고 있다. 지식재산권 실사 이후 법적 리스크 분석 외에 해당 지...

    2017-03-08 18:00
  • 기사 썸네일
    샤오미, 카시오 특허 60여건 매입

    샤오미가 일본 카시오 특허 60여건을 매입했다. 지난해 인텔 등에서 특허를 사들여 자체 어플리케이션 프로세서(AP) `서지 S1` 개발에 성공한 샤오미가 특허 매입을 본격화한 것으로 풀이된다. 반대로 카시오는 특허...

    2017-03-08 17:00
  • 기사 썸네일
    <인터뷰>정연모 교수 "드론 특허로 안전 `사수`"

    “안전을 위해 드론이 할 수 있는 일이 많습니다.” 장애물이나 예기치 못한 사고로 인한 부상을 막으려 드론을 연구하는 정연모 경희대학교 교수(전자공학) 말이다. 연구 3년간 출원(신청)·등록한 드론 특허는 모...

    2017-03-07 20:00
  • 기사 썸네일
    타임워너, 스프린트 특허 침해 "1600억원 배상" 평결

    미국 케이블TV 회사 타임 워너 케이블이 미 통신사 스프린트 특허를 침해했다는 이유로 약 1억4000만달러(약 1600억원) 손해배상금을 지급하라는 배심원 평결을 받았다. 일부 특허는 고의침해가 인정돼 손해액은 더...

    2017-03-07 19:00
  • 기사 썸네일
    삼성·LG 지난해 유럽 특허 출원 3·4위..화웨이 2위

    삼성과 LG가 지난해 유럽특허청(EPO) 특허 출원(신청) 순위에서 각각 3위와 4위에 올랐다. 국가별 순위에서는 한국은 8위를 기록했다. 유럽특허청은 7일(현지시간) `2016년 연간 보고서` 발표에서 지난해 전체 특허...

    2017-03-07 18:34
  • 기사 썸네일
    <기업이 보는 IP제도><중>기업 10곳 중 7곳, "특허분쟁시 외부 변리사 선택"

    국내 기업 10곳 중 7곳은 특허분쟁이 발생하면 회사 외부 변리사를 가장 먼저 찾는 것으로 나타났다. 응답업체 77.1%가 “변리사가 해당 특허·기술을 가장 잘 이해하기 때문”이라고 답했다. ◇“특허분쟁, 외부 변...

    2017-03-07 18:00
  • 기사 썸네일
    `특허만 23년` 최성규 위원 "이대로는 특허수익화 어렵다"

    “특허비용 수확은 어려울 겁니다.” 23년간 특허 업무를 다룬 최성규 특허법인 C&S 자문위원의 쓴소리다. 삼성전자 IP센터 분석그룹장(상무) 출신인 그는 “특허 협상을 경험하면서 고품질 특허에 갈증을 느꼈다”...

    2017-03-07 18:00
  • 기사 썸네일
    성창통신 "UPS·태양광 트랙커 공략"..국내외 특허망 구축

    “어떤 기업이 와도 방어할 수 있는 특허망을 구축했습니다.” 무정전 전원장치(UPS)와 태양광 트랙커 시장을 노리는 이재진 성창통신 대표가 자신 있게 말했다. 이 대표는 “주력품 핵심 기술과 주변 기술 모두 특...

    2017-03-07 18:00
  • 기사 썸네일
    <최동규의 알쏭달쏭 지재권 이야기>(18)지리적 표시도 상표인가요?

    `안동 간고등어`하면 무엇이 떠오를까. 개인에 따라 다를 수 있겠지만 입에 침이 고일 정도의 짭조름한 맛이나, 디지털 저울보다 정확한 안동 간잽이 등이 떠오를 수 있다. 안동 간고등어를 잘 모르는 사람일지라도...

    2017-03-07 18:00